Apollo Flight Journal logo
Index
Journal Home Page

More than SCE to AUX - Apollo 12 Lightning Strike Incident

- A Look 50 Years On

pics/a12patch.jpg.png
Copyright © 2019 by Johannes Kemppanen. All rights reserved.
Last updated 2021-02-24


Conrad, from 1969 Technical debrief: "The flight was extremely normal for the first 36 seconds and after that it got very interesting."

A Foreword

Even for a historical event or topic as illustrious as the Apollo space program, a kind of a hierarchy has grown, out of five decades of popular culture exposure and media attention. When asked to name an astronaut or mention a space mission they know of, the exploits of Neil Armstrong and Buzz Aldrin during the first manned lunar landing during Apollo 11 come to mind to most. This collective memory is understandably widespread, and causes perennial interest into every aspect of that very first mission, its technology, the socioeconomical circumstances of such a mission, and the people behind it.

Yet it was but one mission. The Apollo program consisted of 11 manned missions, not counting Apollo 1, where the crew was tragically lost on the launch pad simulation accident. There were seven lunar landing missions, with six successes. "The one with the explosion", alias Apollo 13, may easily take the second spot on our list of most memorable Apollo missions, perhaps space missions in general. Widespread media coverage, especially afterwards, and the popular 1995 movie have ensured the canonical nature of Apollo 13. Yet that still leaves nine more missions to cover. Who remembers Ron Evans, for example, or Stu Roosa? Each man flew to the Moon, performing succesful orbital science that increased our understanding of the chemical and physical composition of the Moon. Ed Mitchell left his footprints on the lunar dust alongside Mercury veteran Al Shepard, but remains otherwise obscure. And who was Donn Eisele?

Then there is Apollo 12. Generally only those more involved in the study of space history, whether for leisure or with a professional interest, are aware of the harrowing circumstances that developed a mere 35 seconds into the flight. Within the ranks of space enthusiasts, the mission carries certain extra glamour for a number of reasons. The quick-thinking flight controllers in Houston. The 'chummy' crew of Pete Conrad, Dick Gordon and Alan Bean, apparently the friendliest crew who went to the Moon and made sure to have fun while doing it. The spectacular achievements of the flight crew, tracking techniques and mission planning to allow them to land practically on top of their target on the lunar surface. As we now celebrate the 50th anniversary of these fantastic events, we honor the lives and careers of Pete, Dick and Alan, their backups Dave, Al and Jim, and everyone involved in the Apollo Program. The three men who climbed onto their rocket on that rainy morning in November may have joined the final mission to the unknown. By remembering their exploits, our love, respect and curiosity will ensure that the legacy shall last for another 50 years, and more.

Introduction

The beaming Prime crew of Apollo 12 poses in their suits in front of a LM mockup, with a Lunar Surface Magnetometer mockup at the front. The crew consisted of veteran Commander Charles "Pete" Conrad as well as his second-time crewmate Command Module Pilot Richard F. Gordon and Lunar Module Pilot, first time spaceman Alan Bean.

50 years ago, another three-man crew was launched to the Moon as the first follow-up to Apollo 11. Although lacking the media frenzy that surrounded the very first time a human being set foot on another world, Apollo 12 - the first of the more advanced H Class of lunar missions - did not shy from reaching for lofty goals. For Apollo 11, everyone was mostly concerned with proving that a landing could be done with some accuracy, and that the crew could go out of the spacecraft, scoop up some rocks and then succesfully return to orbit. Apollo 12 was designated to demonstrate the ability to land very accurately, and in their case, they even had a manmade target waiting. Surveyor III had soft landed in the Sea of Storms on the April 20th, 1967 as a preliminary test by NASA to explore the feasibility of a lunar landing. Now, it would serve as something for Apollo 12 to aim for. The ultimate goal would be to land close enough to the long-dormant robotic spacecraft so that the two moonwalkers could reach it by foot and retrieve material samples. Considering that uncertainties in guidance and their orbit had made the Apollo 11 lunar module Eagle miss its landing zone, this was a great step forward in terms of the potential accuracy of landing onto the Moon. This ability would be essential for the planned future missions where the LM would have to be aimed to land on a relatively small flat area amidst more cragged - and geologically more interesting - moonscapes.

Come November, everyone was ready to go. The massive 40-stories-tall Saturn V stack stood on the pad, the three-man crew as well trained and motivated as their predecessors, and aware of the innate hazards of such an outrageous undertaking. Yet none expected that the first two minutes of their mission would be some of the most harrowing experienced yet in manned spaceflight history. This commemorative article will look into the surprising events of the launch of Apollo 12, when two lightning strikes on the spacecraft disabled their electric power and guidance systems. We will look at the fast-paced events that unfolded during the launch, the sensational restoration of the spacecraft telemetry and the way the crew was able to salvage their mission after such a surprising, unnerving start. After a general look into these events, I will explore the effects of the double lightning strike in more detail, and dwell into the reasons why the spacecraft reacted the way it did. I hope to find an answer to the question of what saved the mission of Apollo 12 from being cut short a mere 37 seconds into their flight.

The Launch Day

Cold front over the East Coast of the United States, and Florida, on the launch day.
November 14th, 1969 was a rainy day in Florida, and this also included the Kennedy Space Center area where Apollo 12 was waiting to be launched. A cold front was passing through Florida, and this had brought unstable weather in the form of thunderstorms and rain showers. The conditions had remained such during the 13th and through the night before the launch, but weather had markedly improved since. At the time of the launch there was no rain in Kennedy Space Center, although the sky was overcast with clouds between 2,000 and 10,000 feet. Weather was considered to be favorable for launch, with all the conditions that could have potentially limited it within the launch rules.
Pete Conrad in sky-reaching moods during the pre-launch breakfast.
The crew was woken up at 6 in the morning and were raring to go. While they ate and underwent a pre-flight medical check up, launch preparations proceeded in the nearby Pad 39A with the cryogenic fuel loading. No concern were expressed due to the weather or technical issues.

Countdown and Launch

Police officers with cap protectors herd the wet crowd of spectators.
Rain showers continued, along with the countdown to launch that was set for 11.22 am local time, Eastern Standard Time. This made for uncomfortable waiting for the crowds gathering for the launch. The Public Affairs Officer, responsible for narrating the mission live over freely available radio, continued to issue weather updates as well. Although this was standard fare in terms of the PAO's announcements during this time of expectant waiting, the rainy conditions added a little extra flavour to these comments.
President of the United States Richard Nixon and the First Lady Pat Nixon wait for the launch in the rain. Despite long persistent rumors that the launch carried on in dangerous weather so as to please the President, no evidence suggests that this was the case.
Spacesuited crew disembarks the Astro Van at Pad 39A. The wet weather conditions are apparent.
Apollo 12 right after takeoff, yet to clear the tower.
The countdown proceeded without technical issues or true concerns over the weather. With the crew onboard and the fuel and oxidizer loaded into the Saturn V, it was only a matter of time to wait for the launch window to open. This was the particular time they had to aim for so that both the launch conditions and the expected conditions during the lunar landing would be optimal. Should they be unable to launch within the November 14th window that lasted until 14:28 pm, a backup launch window was on the 16th, with two more launch windows in December. As the last minutes passed, everything was working nominally, and nothing indicated that the launch should be postponed for any reason. Apollo 12 launched exactly on time at 11:23 am to the delight of the cheering, if damp crowd watching the spectacle.
Apollo 12 roars off towards the cloudy sky.

T + 36.5 seconds - first lightning strike

Film frame from one of the launch pad cameras, showing the lightning that struck the Saturn V and then down to the launch tower.
14 seconds in, the Saturn V cleared the tower and the responsibility for the mission shifted from the Cape to Mission Control Center in Houston, Texas. The Saturn V booster finished the yaw maneuver that was performed to prevent an accidental collision with the launch tower, and then continued to roll to attain the launch azimuth heading of 72 degrees, towards the Atlantic Ocean. At 33 seconds, an ebullient Pete Conrad declared the roll program complete. Now the spacecraft would continue to ascent at an increasing velocity. In Houston, CapCom Gerald Carr had just managed to acknowledge the Commander's cheerful remark when a sudden crackle filled the air to ground radio loop.
Astronaut Gerald Carr captured on 16mm film in Mission Control at the moment of launch.
Unknown to the onlookers below, as the booster passed through the overhanging cloud layer, a lightning struck the Saturn V stack just 36.5 seconds after liftoff. The tape recorder running to store data and onboard conversations captured the exchange between Commander Pete Conrad and Command Module Pilot Dick Gordon that well summed up their initial reaction.

000:00:37 Gordon (onboard): What the hell was that?
000:00:38 Conrad (onboard): Huh?
000:00:39 Gordon (onboard): I lost a whole bunch of stuff; I don't know...
000:00:40 Conrad (onboard): Turn off the buses.

Caution and Warning lights as read out by Pete Conrad.
As the shrill Master Alarm went off in the astronauts' headphones, the Caution and Warning panel on the top of the Main Display Console lit up. The yellow caution lights for all the three fuel cells and both main direct current electric power buses and both alternating current power buses were on, which meant that to the crew it appeared that all of their electric power generation and distribution systems had failed completely. The trio immediately proceeded to check the displays for indications to what exactly had happened to warrant so many alarms. No physical sensations indicated trouble to them, as the Saturn V continued to ascent under the 7,500,000-pound thrust of its five F-1 engines.

T + 52 seconds - second lightning strike

000:00:56 Conrad (onboard): I just lost the platform.
Altitude, a mile and a half [nautical], now. Velocity, 1,592 feet per second.
000:01:00 Gordon: All we've got's the GDC.
000:01:01 Conrad (onboard): Yes.
000:01:02 Conrad: Okay, we just lost the platform, gang. I don't know what happened here; we had everything in the world drop out.
000:01:08 Carr: Roger.
Plus one.

The ISS warning light came up at the second strike, signifying inertial guidance system failure.
The crew had barely reacted to the initial alarms when another lightning strike turned the situation a whole lot more grave. Although Pete Conrad later apparently recalled observing a flash through the small window available to him during the launch, the crew was still unaware of the true events outside. A red "ISS" warning light came on at the top of the console. This signified that the inertial guidance system was now in an error state and unable to sense their accleration and attitude changes. Looking at the round instrument in front of him, Pete Conrad saw that it too was spinning around aimlessly. The inertial guidance system was no longer feeding meaningful information to the instrument that was meant to let him monitor their attitude during the ascent. Suddenly the Apollo spacecraft had lost its bearing in regards to its position in space, during one of the most dynamic and hazardous phases of the mission.
Main Display Console. The two FDAI's are indicated.
CapCom Gerald Carr had no choice but to acknowledge Pete Conrad's grim declaration about losing the inertial platform. Around him, the flight controllers in Mission Control in Houston were already trying to sort out the situation, all the while the crew itself began to try to get into grips with whatever had befallen them. Yet another set of difficulties was hampering this effort. Some of the telemetry being radioed down from the ascending spacecraft had become garbled for reasons unknown and did not present an accurate picture of its condition.
Computer warning lights observed by the crew. Coloring added. Original scan via heroicrelics.org.
During the launch, several cardboard cue cards containing quick instructions were attached to the main console with pieces of Velcro. One thing done by Pete Conrad at this point was the remove a cue card that covered the indicator lights on the DSKY user interface to the onboard computer that was set on the Main Display Console just about at the center between the Commander's and the Command Module Pilot's panels, for easy access by both of them. Underneath, Conrad found out that several warning lights had come up on the little bank of indicator lights that alerted them to trouble in the computer or the guidance system. NO ATT light told him that the computer did not know their present attitude. GIMBAL LOCK indicated that the computer had sensed an unacceptable status of the inertial platform. PROG (short for PROGRAM) ALARM warned of a disruption of the computer's processes.
Flight Director/Attitude Indicator, aka the 8-ball. There were two of them in the Apollo control panel. Despite the engineers' insistence that one would be sufficient, the Apollo astronauts (apparently led by Jim McDivitt) rebelled and told they would not fly the Command Module without two FDAIs.
Looking at the Main Display Console with the g forces pressing increasingly on them, Pete Conrad saw that the FDAI in front of him continued to spin around, indicating that it had lost its attitude reference. Notably, however, CMP Dick Gordon on the center seat noted over the radio that the second FDAI, which was directly in front of him, still displayed accurate information. For the launch, the Commander's FDAI derived its information from the inertial guidance system. The CMP's FDAI was run as a backup by having its information fed from the auxiliary system known as the GDC - the Gyro Display Coupler.
Command module attitude reference systems. Adapted from the AOH Vol 1.
Two interlaced, yet redundant systems onboard the Apollo spacecraft produced attitude and acceleration data while in powered and free flight. The Primary Guidance, Navigation and Control System - PGNCS, universally known as 'pings', consisted of the Inertial Measurement Unit, which delivered its information to the Command Module Computer which then fed it to the FDAI display. The secondary system was known as the Stabilization Control System, and provided independent means for both sensing and controlling spacecraft attitude and acceleration. Two gyroscopic units known as BMAGs - Body Mounted Attitude Gyros were installed in a so-called strapped-on configuration where they sensed such changes directly from the structure of the spacecraft. The GDC - Gyro Display Coupler - mentioned by Richard Gordon was an electronics package that derived the attitude information from the BMAGs and then translated it in a usable form to the FDAI. Importantly, this meant that although their primary system appeared to be out of action, the backup system was still operating accurately and monitored the ascent conditions.

000:01:09 Gordon (onboard): I can't - There's nothing I can tell is wrong, Pete.
000:01:12 Conrad: I got three fuel cell lights, an AC bus light, a fuel cell disconnect, AC bus overload 1 and 2, Main Bus A and B out. [Long pause.]
000:01:21 Bean (onboard): I got AC.
000:01:22 Conrad (onboard): We got AC?
000:01:23 Bean (onboard): Yes.
000:01:24 Conrad (onboard): Maybe it's just the indicator. What do you got on the main bus?
000:01:26 Bean (onboard): Main bus is - The volt indicated is 24 volts.
000:01:29 Conrad (onboard): Huh?
000:01:30 Bean (onboard): Twenty-four volts, which is low.

The crew continued to troubleshoot their spacecraft meticulously. Pete Conrad read out the warning lights he observed over the radio. While Conrad conferred with Mission Control, his compatriots sounded equally puzzled. It was LMP Alan Bean, sitting in front of the controls and displays for the Electric Power System, who delivered some still confusing but yet hopeful news. By using the rotating selector switches in front of him, he was able to call up the voltage and amperage information on the power distribution buses. Despite the warnings that had lit up earlier, he found out that both the DC and the AC buses were still operating. The biggest issue noted at this time was that the DC voltage was down to 24 volts, near the minimum needed by the system that usually ran on 28 volts. Almost a minute into the emergency, the crew was still at a loss to what had happened to them, although onboard readouts told them that they still had power, and a functional backup guidance system.
Direct current indicators and selector switches on Panel 3. Alan Bean used these to confirm that the spacecraft still had power.
Alternating current indicators on Panel 3. Switches on the left were used to select the AC inverter used, while the gauge on the right allowed them to check the voltage in the 118-volt alternating current power supply.

T + 1 minute, 36 seconds - "Try SCE to AUX."

All through this back and forth, the spacecraft was flying at an increasing speed and reached the Max Q - or maximum dynamic pressure area, where the interaction between the spacecraft and the air resistance put the highest structural strain on it. In Mission Control, the flight control team under veteran Flight Director Gerry Griffin was struggling to assertain the situation properly. Flight Dynamics - or FIDO for short - reported that the Saturn V was still on the right track. Whatever had happened onboard the Apollo spacecraft had not seriously affected the Saturn V and its own internal guidance system in the Instrument Unit. Yet the news from the Apollo spacecraft were inconclusive.
Flight Director Gerald "Gerry" Griffin in Mission Control.
EPS High Density, one of the two EECOM displays immediately available at the Mission Control station. The values displayed do not reflect those seen at the moment but are for illustration only.
At the EECOM station, John Aaron was manning the console where the status of the electrical and life support systems were monitored. His two CRT screens showed the realtime status of the most important telemetry values. At 37 seconds into the flight, some of the EECOM data had became garbled, consisting of unusual numbers that did not appear to indicate proper values to be measured. What was especially critical was that the telemetry measurements affected were those that covered most of the onboard power generation and distribution systems. This left Mission Control unable to monitor the status of the fuel cells, the batteries, or the power distribution buses. The crew reported over the air to ground voice radio that their power systems appeared to have a malfunction, as per the caution and warning lights Pete Conrad read out.
EECOM engineer John Aaron in Mission Control. Photo from NASA History Office.
As he looked at the screens, John Aaron recognized a pattern in the seemingly entirely random numbers on his screen. He recalled seeing something similar in the past during a test of the Command Module when a drop in the power to a system called the Signal Conditioning Equipment had caused similar figures to be displayed in the data output. According to Aaron's NASA oral history, the values displayed after the lightning strike were identical to those he had encountered before, during the factory testing. Instead of the sensor values dropping to zero due to power loss, they produced these strange patterns. This recognition gave Aaron the confidence to contact Gerry Griffin, and issue his suggestion on how to rectify the telemetry situation.

GRIFFIN (FLIGHT) - How's it looking, EECOM? (...) EECOM, what do you see?
AARON (EECOM) - Flight, EECOM. Try SCE to AUX.
GRIFFIN (FLIGHT) - Say again? SCE to AUX?
AARON (EECOM) - AUX.
GRIFFIN (FLIGHT) - AUX.
AARON (EECOM) - Auxiliary, FLIGHT.
GRIFFIN (FLIGHT) - SCE to AUX. CAPCOM. What panel? EECOM?
Although sounding confounded by the suggestion himself, Griffin recognized the urgency of the situation and passed the action to CapCom Gerald Carr. Astronaut Carr activated his microphone to open the thankfully still functioning radio link to the spacecraft, and spoke as clearly and firmly as possible.

000:01:36 Carr: Apollo 12, Houston. Try SCE to Auxiliary. Over.
000:01:39 Conrad: Try FCE to Auxiliary.
000:01:41 Conrad (onboard): What the hell is that?
000:01:42 Gordon (onboard): Fuel cell...
000:01:43 Carr: SCE, SCE to auxiliary. [Long pause.]
000:01:45 Conrad (onboard): Try the buses. Get the buses back on the line.
000:01:48 Bean (onboard): It looks - Everything looks good.
000:01:50 Conrad (onboard): SCE to Aux.

At the bottom of Panel 3, in front of Lunar Module Pilot Alan Bean, there were controls for the spacecraft telecommunications system. One of these controls was the three-position switch for the Signal Conditioning Equipment, SCE. It had been flicked upwards to the NORMAL position during launch preparations and would usually remain in this position throughout the mission. This switch position would have the SCE electronics use its primary power source. Yet, according to John Aaron, the problem appeared to be in this particular part of the system, and Aaron had figured out that the way to fix the problem was to select the secondary power source within the unit. Alan Bean's spacesuit gloved finger performed this emergency procedure, which resulted in the onboard instrumentation finally receiving normal power again. Within moments, clear data began to filter in onto the screens in Mission Control.
Panel 3 on the Main Display Console. SCE switch marked.
The SCE power switch on the bottom of Panel 3.

GRIFFIN (FLIGHT) - What panel, EECOM?
AARON (EECOM) - We got it back, Flight. Looks good.
GRIFFIN (FLIGHT) - Okay.

The confident, prompt response from EECOM John Aaron, Pete Conrad's puzzlement over the exact switch to use, and Alan Bean making the critical move to turn the switch have become the stuff of spaceflight legends, especially among Apollo fans. Much has been said - especially popularized by the Andrew Chaikin book Man on the Moon and its TV miniseries adaptation From The Earth to the Moon that Alan Bean was the only person who recalled the location and purpose of the SCE control, considering that as the LMP he was also responsible for the Command Module electrical systems. Although Pete Conrad's puzzled reaction is understandable in terms of him being the Commander of a spacecraft, staring at dysfunctioning piloting displays and listening to his orders on a crackling radio, we cannot forget Richard Gordon's role. The Command Module Pilot flying on Apollo 12 had in fact been intimately involved in the design of the cockpit and the Main Display Console in the Apollo spacecraft. He would have surely had no issue seeking out the SCE control if it had come to be his responsibility. Yet we know from the transcript that he was busy observing the function of the backup guidance system. Even in an emergency, their roles were carefully assigned, and they stuck to their own jobs during this critical phase.

It was one minute after the first lightning strike that Carr gave the order to set SCE to AUX. That is how long it took for Mission Control to get on top of the telemetry problem and fix it. All this, and the crew's manual actions to rectify the issue, took place while the spacecraft was experiencing maximum acceleration of 3.91 g's.

Continuing to Orbit

With confidence in the telemetry restored, Apollo 12 continued to ascent through the upper layers of atmosphere. At 2 minutes, 19 seconds, Carr issued the command to attempt to reset the power system by reconnecting the fuel cells into the main buses. This was done a few moments before the first stage cut off and separated, and the ignition of the S-II stage. It was near the 3-minute mark when Pete Conrad wondered on air whether they had suffered a lightning strike. What they knew, however, was that the electric power system was stabilizing again. The fuel cells had been succesfully reconnected and were now supplying the electric power load.
Panel 3 switches for fuel cell bus connections. Original scan via heroicrelics.org.
The next order of business was to decide on action for the primary guidance system. Although the Instrument Unit was still operating properly and flew the Saturn V booster, as was the BMAG/GDC backup system in the Command Module, the primary guidance system would have to be restored for use during the rest of the mission. Gerald Carr told the crew to power down the tumbling IMU in the hopes of stabilizing it.
The IMU gimbal lock.
It is somewhat unclear what kind of action was taken at this point, due to the disjointed comments recorded onboard, but the computer then announced that a gimbal lock had occurred. This meant that two of the three gimbals stabilizing the inertial platform had lined up and caused the whole platform to seize up, losing its freedom to move and react to the changes in their attitude. The primary guidance system was still unusable at this point, with the Saturn V still ascending.
CapCom Gerald Carr in Mission Control with Apollo 12 Backup crew Commander David Scott.
Despite these problems, at 11 minutes, 34 seconds, the S-IVB third stage's single engine shut down, and coasting flight began with Apollo 12 succesfully in orbit. Initial data indicated that the orbital insertion was nominal. The crew was now floating in free space for the first time. The launch disaster had been averted.

Restoring Onboard Navigation

Inertial Measurement Unit circuit breakers.
There was hardly time to enjoy the sights. Now on orbit, the crew was rather in a hurry. Not only did they have a very long list of normal check-ups to perform on their spacecrat and the booster in order to make sure that it would be ready to depart for the Moon, they also had to figure out what to do with the disabled primary guidance system. The Translunar Injection - the burn to boost towards the Moon - could certainly not take place if the guidance system was not working perfectly. If they were unable to restore it during the parking orbit around the Earth, the lunar landing mission would have to be called off. Only a limited time could be spent in orbit before they would slip out of their time window, plus the S-IVB rocket stage would be unable to support the flight, having only a limited capability for coasting flight. Their first action was to pull the two circuit breakers that supplied the Inertial Measurement Unit with electric power. This allowed the motors that ran the stabilizing gimbals in the IMU, as well as its gyroscopes, to wind down. This would make restoring it all that easier later on.
Optics equipment at the navigation station in Command Module Lower Equipment Bay.
A normal part of the Earth orbit checkout would be a realignment of the guidance platform. In this procedure, the Command Module Pilot floated into the space under the crew seats to access the optical equipment down there. With these, taking sightings of stars and comparing their actual position to the computer's idea of their position, the CMP could realign the platform to be as accurate as possible in terms of detecting their attitude in relation to these targets observed. Usually this was a simple procedure taking about five minutes, utilizing a computer program called P52. On Apollo 12, Dick Gordon had more to do. He would have to start the platform alignment from scratch, since shutting down power to the IMU had made it lose its original orientation. This was no problem, however, the crew well trained in this procedure as well, known as P51, named for the computer program they could use to establish this initial orientation. Dick Gordon's biggest problem initially was acclimating to darkness so that he could spot the faint stars he needed to mark with his telescope, to tell the computer that he was looking at them while the spacecraft was at a particular attitude. On the night side of the Earth, these sightings were performed successfully. The guidance computer's navigational data was reuploaded over the radio from Mission Control, and with both the platform and the computer properly set up, their navigational system was officially restored.

Since the computer had also been involved in the guidance system failure, an extra computer self-check procedure was performed to seek for potential errors in the Command Module Computer. The computer checked out well, as did a Mission Control check on the rewriteable computer memory that was downlinked from the spacecraft for analysis. Another test done was a manual check of the systems used to point the Service Propulsion System's big engine nozzle. This was important, since the engine would be used 90 minutes after the translunar injection burn to the Moon, if a problem developed and they would have to abort the mission immediately afterwards. This too checked out fine. It appeared that the spacecraft had survived the lightning strikes without any critical damage.

Safely Towards the Moon

Alan Bean comes down the ladder after a succesful lunar landing.
About three hours into the mission, the S-IVB stage was relit for the TLI burn to reach the Moon. The three-day coast to the Moon was entirely uneventful. Their November 19 landing was a perfect success, allowing the second two-man team to land on the Moon to perform extensive science on the surface. They deployed an ALSEP science unit onto the surface for long-term monitoring, visited the Surveyor III on its resting place, and returned safely on November 24th.

Lightning Effects on the Spacecraft and Saturn V

We will now look at the ways the lightning strike affected the Saturn V stack. Both the booster and the spacecraft experienced a variety of temporary disturbances caused by the lightning strike. The Command-Service Module suffered permanent, if very minor damage to some of its systems. A separate section after this one will look at the Inertial Measurement Unit and how the Apollo spacecraft lost its inertial guidance system.
Arrangement of lightning detectors at Kennedy Space Center.
Eight lightning detector stations covered the Kennedy Space Center/Cape Canaveral area in Florida. The instrumentation recorded electric field gradients that indicated that although no lightning activity was present at the time of the launch, the potential for it was by all means present.
Electric field gradients detected at the Kennedy Space Center area at the time of the launch.
Locations of cameras that captured two lightning strikes on the ground at launch pad.
Several cameras observing the launch captured the first lightning strike. Individual film frames as well as video camera tapes showed the lightning hitting the launch pad via the launch utility tower acting as a lightning rod. Two points were detected on the ground where the lightning made groundfall. The first lightning struck from the cloud, into the vehicle and then to the ground. The second lightning strike hit from cloud to cloud, striking the Saturn V, and did not leave such traces on the ground. No damage was discovered in any of the launch area equipment.
Theorized electric field disturbance generated by the Saturn V upon ascent.
Two leading theories emerged for the cause of the lightning event. The possibility of static electricity being created by the Saturn V was considered, but soon disregarded. The energy released by the lightning observed was simply too great to be generated by the spacecraft itself. Hence the theory of a vehicle-triggered discharge was adopted as the probable cause. The clouds above were electrically charged and also showed signs of rain activity and ice crystals forming in them - all of which were signs that the potential existed for lightning to happen. When the Saturn V was introdced into this environment, a long metal tube with a highly ionized plume of gas training behind it, a path of conduction was created between the different electric fields in the different cloud layers. This allowed for lightning to form twice, both causing a strike on the Saturn V-Apollo stack.
Fuel cell disconnect event, with potential electric discharge pathways through the Command Service Module.
The first lightning strike at 36.5 seconds caused all three fuel cells in the Service Module to abruptly go offline. A silicon controlled solid state rectifier in the disconnect circuitry was designed to disconnect a fuel cell if the current exceeded a pre-set value, to protect the power distribution system. The amount of energy required to trip the circuit at the speed that this disconnect happened is beyond what can be possibly generated by the spacecraft's own systems, which implicates the lightning as the only possible source. It is likely that the lightning passing through the skin of the spacecraft induced a voltage difference in the sensor high enough to cause the motor switch to be opened, disconnecting the fuel cells.

At the time of the launch, the spacecraft's power needs were supplied by the three fuel cells and the onboard batteries. The Command Module has three batteries, labeled A to C, with A and B being on line at the time of the launch. The total current spent was approximately 75 amperes at the time of the incident. The fuel cells supplied most of this, with the batteries each putting out about 4 amperes of current. When the fuel cells fell off the line, the total electric power needs had to be supported by the two batteries. Since the battery system was not designed to supply such a load, this caused the voltage to drop in the main direct current power buses from the nominal 28 volts to approximately 18-19 volts. Although this too was transient and lasted for mere milliseconds, the sudden drop in operational voltage caused UNDERVOLT indications to be tripped. With the DC power down, the inverters producing alternating current also experienced a low output situation which caused AC bus warnings as well. Since the AC-consuming systems were still operating, the power demand rose beyond what the underpowered AC system could supply and the OVERLOAD warning was given. It was this power loss that caused the majority of the issues experienced during the ascent, when the undervoltage condition not only lit up all the warnings, but also caused many pieces of equipment to briefly malfunction. Thankfully the two batteries on the line were able to supply the total power load for approximately two minutes, when the fuel cells were reconnected and assumed the majority responsiblity again. No damage or malfunctions were found from any of the power generating or distribution systems after the power loss. From then on it was merely a process of resetting the alarms and the various power feeds, to ensure that normal voltage and current was seen in all of them. The crew later speculated whether adding the third battery, Battery C, onto the line, could have helped them stabilize the situation faster, but this probably not the case. Battery C was designated to act as a backup and would have been connected to the power system if either of the two other batteries failed. In this, too, the crew performed their duties exceptionally.
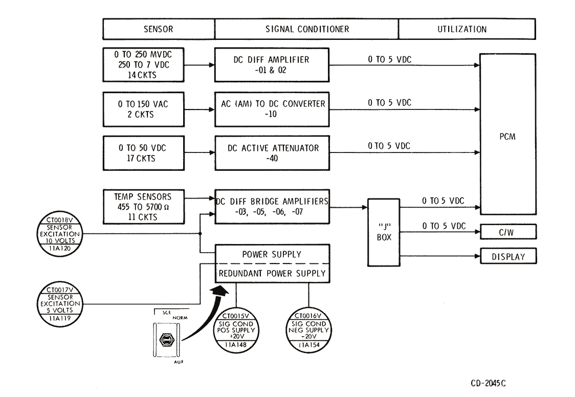
Functional diagram of the Signal Conditioning Equipment, or SCE.
One of the key pieces of equipment affected by the power loss was the SCE or Signal Conditioning Equipment. The purpose of the SCE is to both power some of the sensors in the spacecraft as well as gather the sensor data for processing into digital telemetry to be radioed back to Mission Control. The SCE received its power from a special distribution bus known as the Flight Bus. This separate power bus provided electric power to the communications and telemetry equipment via both Main Buses. The undervoltage situation caused by the lightning strike caused the voltage in the Flight Bus to drop as well, since the redundancy provided by the arrangement did not help in this case, due to both Main Buses losing power simultaneously. The SCE unit itself had two internal, redundant power supplies, with the lightning event most probably disabling the primary unit. This caused the SCE to start producing spurious sensor data which was then received in Mission Control and interpreted as being garbled. This led to the flight controllers not having a proper picture of the status in the spacecraft in the middle of an emergency. By manually operating the SCE POWER switch to select the secondary power source wih the AUX position, the SCE circuitry was reset to use the redundant power supply. Since the Main Bus voltage had rallied after the initial drop, the SCE was now able to receive a normal amount of operational power. This resulted in clean data being received again.
Signal flow for monitoring Main Bus A. Voltage for onboard display is derived directly. For telemetry, the SCE conditions the signal into a form that can be transmitted via the PCM.
Much has been said about the restoration of the SCE and its crucial role in saving the mission. Indeed, while the telemetry on the Command Service Module's electric power systems was crucial for the succesful conduct of the mission, it was not an absolute requirement for the continuation of the ascent. Even more importantly, the crew was still able to read the current and voltage information on the fuel cells, the batteries and the power distribution buses via the gauges in the Main Display Console. These derived their information directly from the sensors in the Electric Power System and did not require the signal conditioning equipment for the onboard display. Mission Control was in radio contact with the spacecraft at all times via the air to ground voice radio, which meant that the crew would have been able to report on the status of their electrical system verbally, if necessary, for the rest of the ascent. Certainly, if the system had been permanently disabled, the mission would have been aborted or curtailed to an Earth orbital mission only, but for the launch scenario, the simple loss of telemetry was not grounds for an abort. What the restoration of the telemetry did was certainly give Mission Control extra confidence in the spacecraft in a very harrowed time.
Saturn V-Apollo stack with the Instrument Unit indicated. Adapted from NASA original.
During the ascent to orbit and the Translunar Injection burn to the Moon, the Saturn V stack was not controlled from the Apollo spacecraft but instead by a completely separate guidance, navigation and control system located on a ring-shaped section at the top of the S-IVB Saturn V third stage. Known as the Instrument Unit (IU) and manufactured by IBM, the IU contained its own inertial measurement unit, a digital guidance computer, and an analog flight control computer. The guidance computer in the Command Module ran in an observer role during the ascent and subsequent Translunar Injection, although the capacity for manual take-over of the Saturn V was possible by using the Command Module Computer in a backup mode of operation.
The Saturn V guidance section, the Instrument Unit.
Flow of navigational data between the Saturn V inertial measurement unit and the guidance computer.
At the core of the IU's guidance system was a set of equipment analogous to that in the Command Module. A stabilized platform with accelerometers and gyroscopes on three gimbal rings (as in the Apollo IMU) sensed changes in attitude and acceleration on three axes of freedom. The Launch Vehicle Data Adapter, just like the Coupling Data Unit, conversed between the analog system of the inertial platform and the all-digital Launch Vehicle Digital Computer, or LVDC. It provided the inertial guidance information and signals for an analog Flight Control Computer which was responsible for adjusting their heading either by re-pointing the Saturn V's various engines, or using reaction control jets on the S-IVB third stage while on orbit. At the time of the lightning event, the Saturn V was being flown according to a pre-programmed ascent plan in what was called the open loop of operation. At 3 minutes and 22 seconds, this changed to the closed loop where the inertial guidance unit's output was used to adjust their ascent to compensate for any errors that had been caused by uneven or unexpected engine performance, or the weather.
Launch Vehicle Digital Computer, in the Instrument Unit.
Around 36 seconds, the energy of the lightning strike reached the Instrument Unit and passed along its aluminium structure. It can be assumed that the electric field induced the effects that were at the time noted in the system telemetry being radioed down to Mission Control from the IU. Both the Z axis accelerometer and the Y axis attitude gyroscope sent spurious signals to the LVDC, where they failed an in-built reasonableness test. Hence the guidance program decided that the singular readings were in error. The computer program compared input from alternative data channels and disregarded the data that was out of normal limits. After only a second, the inertial platform and the LVDC were both operating perfectly normally and continued to do for their remaining useful life. The Saturn V Instrument Unit survived the lightning strikes with only a momentary disturbance of two data inputs, which the computer promptly and correctly did not take into account while calculating the safe ascent of the launch vehicle.
Saturn V stages and vehicle axes. Adaptation from the S-507 Flight Manual for Apollo 12.
The lightning strikes passed through the aluminum structure of the Saturn V, creating a multitude electrical disturbances. According to the incident investigation report, out of the 1,477 telemetry measurements being transmitted to Mission Control, 109 showed transient disturbances. Several piezoelectric vibration sensors on all three stages of the booster showed spurious readings as well. Since these are systems that operate on very low electric power, the lightning strike easily disturbed their output. None of these were critical for the monitoring of the safe operation of the vehicle, however.
Service Module RCS quantity inducer diagram.
Nine sensors in the Service Module were rendered inoperative for the duration of the mission. The fuel propellant quantity transducers on each Reaction Control System engine quad failed permanently, most likely either due to a damage to the semiconductor resisters, or to the diode used to regulate the sensors' power source. The loss of these sensors was not critical, since the RCS fuel quantity could be extrapolated from other telemetry data as well.
Service Module skin temperature sensor diagram.
Similarly non-critical was the loss of Service Module skin temperature sensors. Consisting of a thermocouple and a series of resistors, they used a very small current of 0.020 amperes, and a mere 0.100 ampere current would be enough to damage the system. These sensors were usually used to infer the position of the spacecraft in relation to the sun, since direct sunlight would cause temperature to rise on the section of the Service Module in question. This too, was not a mission-critical item. The final lost sensor was a similar temperature sensor in the nuclear particle analyser inside the Service Module. All these equipment used very low currents and solid state equipment, which made them very sensitive to the electric discharge from the lightning. The rest of the thousands of pieces of equipment onboard continued to function normally.

An IMU Takes a Tumble

Pete Conrad's tense declaration about losing the platform is one of the enduring memories of the one minute of terror during the ascent of Apollo 12. An interesting technical story deeply tied into the architecture of the Command Module guidance system is hidden behind this statement, and warrants a closer look. I have tried to explain this rather complex system to the best of my ability, so that everyone can enjoy this little technical detective story.
Inertial Measurement Unit opened.
The heart of the guidance system was the Inertial Measurement Unit, or the IMU. It was also known as the platform. Accelerometers and gyroscopes places orthogonally (in 90-degree angles to one another) onto the stabilized platform detected changes in attitude and velocity on the three axes of motion. The platform rested on three gimbals nestled on one another so that whenever the spacecraft moved, it essentially rotated around the platform which stayed in one position, thanks to little electric engines that continuously maintained its orientation. Electronics known as resolvers installed onto the gimbals detected these movements and fed this information to the guidance system, where it was converted into information about any changes in their attitude.
Apollo IMU Inertial Measurement Unit gimbal platform.
The Apollo IMU used in both the Command Module and the Lunar Module was based on a three-gimbal system. The greatest operational limitation this imposed in the inertial platform was the danger of the gimbal lock. If the middle gimbal lined up with the outer gimbal, this would limit its range of motion and cause the platform to seize up and lose its freedom of motion. To cause the least amount of operational difficulties, the middle gimbal was assigned to the roll axis, meaning the rotation of the spacecraft around its central axis of motion. The spacecraft was not expected to require excessive motions on that axis during a nominal mission, and hence the limitation posed by the three-gimbal system could be accepted under normal conditions. It could be lived with.
Command Module inertial system flow.
The inertial platform supplied the computer with information on the attitude and velocity changes experienced by the spacecraft. In return, the computer was used to send signals to the inertial platform for the purpose of aligning it to a desired references, whether to re-align the system for mission purposes or to fine-tune its orientation due to the drift that was innate in the system and would over time generate and increasing amount of error in the platform's readout. In all normal operation, the computer also calculated how much the gimbals would have to be commanded to rotate to maintain the stable orientation of the inertial stable platform. It was the derangement of this relationship and the computer's attempts at rectifying it that led to the temporary loss of primary attitude sensing capability via the IMU.
Inertial Coupling Data Unit (ICDU) functional flow.
Communicating between the CMC and the IMU was an electronics package known as the Inertial Coupling Data Unit. Its purpose was to convert the analog electronic signals to a digital form that the computer could interpret, and vice versa deliver the computer's orders to the IMU by reversing that process for digital to analog conversion. There were in fact a total of five Coupling Data Units in the system, three covering each of the roll, yaw and pitch axes respectively, plus two individual ones that communicated between the computer and the navigational optics. These Optical Coupling Data Units were another crucial piece of navigational equipment, but were not operating at the time of the lightning incident since the optics would only be needed once in orbit. It was the lightning's effect on the CDUs that caused the IMU platform to tumble.
Apollo Guidance Computer priority counters. The computer processed incoming data based on order of priority.
Dedicated data input and output channels handled the communication between the IMU and the Command Module Computer. While the Coupling Data Unit converted these signals, they arrived into the computer's counter process that had its own priority control circuitry in place. This allowed the computer to decide which data to process, with the more crucial input having the ability to interrupt the other processing so that it could be processed. It was the state of these channels that the power surge interrupted, leading to some electronic confusion.
Functional flow between the IMU and the Apollo Guidance Computer.
The first lightning strike at 36.5 seconds caused a sudden change in the CDU values being fed to the computer. This was most likely caused by the sudden drop in voltage due to the fuel cell disconnect, and not by an actual lightning-related disturbance of the electronics. The guidance computer itself underwent five restarts. Due to the design of the computer and its programming, it picked up the ascent monitor program from the last known position in the computer memory, and carried on working as required. The second lightning strike at 52 seconds GET caused a more severe problem. A power transient or an electric charge induced from the strike caused bits in the Coupling Data Unit channels to be set. Individual computer bits - ones and zeros - are used in the guidance computer to tell the computer the state of various values in an ON/OFF manner. Worryingly as well, the CDU had also sent a signal to the computer that indicated that the middle gimbal - signifying the Z or the roll axis - had reached a deviation of 85 degrees, which was very close to the dreaded gimbal lock. It was either this false readout, or one of the bits having been changed that made the computer assume that the IMU had suddenly went into a gimbal lock. The computer issued a command to the platform to drive it to the so-called coarse align mode due to the gimbal lock to prevent a further disturbance of the system. Due to the configuration of the CDU's for the launch monitoring purposes, the computer continued to issue these fixing commands to a rapidly moving platform that was not actually in gimbal lock but was simply attempting to maintain its stable attitude. The electric motors used to align the platform began to run at a maximum speed and eventually reached a saturation point where the platform became unstable and indeed reached an actual gimbal lock. The crew powered down the IMU and was later able to restore the platform using star sightings and computer programs 51 and 52, plus a data update to their computer. Despite the issues experienced during the launch, the IMU, the CDU and the computer performed without any further trouble for the rest of the mission.

Why Was There No Abort On Apollo 12?

Another view to the first lightning strike, captured from one of the launch pad cameras.
The systems failures suffered by Apollo 12 during the launch were serious and posed a true risk to the loss of the spacecraft and even the crew. Yet we know that the Saturn V booster continued to orbit, with the spacecraft soon restoring its internal primary power generation and navigation capabilities. We know that the mission was a success. But how close were they to losing the mission? Was someone's finger on a button - quite literally - to issue the command to abandon ship, and abort the second Moon landing almost right after lift-off from the Cape?
Apollo 12 launch abort rules. Reproduced from Apollo 12 Mission Rules.
A careful set of operational, technical and physical constraints were drawn up for each Apollo mission. The launch was an especially hazardous part of the mission. A variety of conditions were determined that would pose the risk of vehicle and crew loss, should the situation not be immediately rectified by automatic or crew action. For the first two minutes of the mission, during which the Saturn V took off and expended most of the S-IC first stage, an automatic abort capacity was enabled in the Emergency Detection System, or EDS. The EDS was set up to monitor certain critical characteristics in the Saturn V booster and to initiate an automatic emergency abort should particular conditions be breached. These remained relatively constant for the entire Apollo program. They included the loss of more than 1 engines in the S-IC stage, excessive rates (rotation of the booster in any direction) beyond those programmed into the ascent sequence, and the loss of electronic connection between the Command Module and the Instrument Unit in the S-IVB third stage. Any these conditions were considered to be signs of a potentially catastrophic malfunction, and a life-threatening situation could develop so quickly that the flight termination would have to be performed automatically.

After two minutes, the EDS was turned off and from then on the decision would have to be made either onboard or in Mission Control based on the telemetry received. For this too, a careful set of rules were drawn, and which are listed in the associated illustration above. Section B-2 is of greatest interest, since it covers malfunctions in the Electric Power System. We can see that the systems listed are those that did indeed fail, with the execption of the Command Module batteries that continued to function. Yet with only two batteries operating at the time, the loss of just one of them would have meant that the crew would have had to consider aborting the launch. Although the list of system failures is a long one, and we know that they did indeed lose all the systems listed, none of the losses were permanent. Obviously the abort rules were drawn so that only what appeared to be a permanent loss or a malfunction state in the system would count as a grounds for abort. We know that this was not the case, since the electric power system was restored on the batteries within mere milliseconds, with the fuel cells returning two minutes later. All this considered, a transient issue such as those experienced by Apollo 12 were not grounds for the issuing of an abort command. It is also notable that the loss of the guidance system is not even listed on the launch abort rules, for this too was not seen as a critical failure during the launch. Neither did they have a rule to abort the mission due to loss of telemetry, which too was experienced by the Apollo 12 mission controllers.
Abort light and launch vehicle engine and status lights on Panel 1. Reproduced from Apollo 13 Saturn V Flight Manual. Colored for AFJ.

Should Mission Control detect a condition that warranted an abort, two individual requests would have to be sent to the spacecraft. The red Abort warning light on Panel 1 of the Main Display console could be illuminated via remote command and was considered one such request. Other than that, Mission Control would have to issue the order verbally over the radio as well, as a second demand for abort. The actual abort could only be initiated by the spacecraft Commander by turning the Translational Hand Controller handle counterclockwise. For Apollo 12, this responsibility rested on Pete Conrad, whose own words from the post-flight report tell us his opinion on whether he was ready to turn the handle.

Conrad, from 1969 Technical debrief: "I never considered any kind of an abort. The only concern that passed my mind was winding up in orbit with that dead spacecraft. As far as I could see, as long as Al said he had power on the buses and the comm was good, we'd press on. We had a long time to go before we could do a Mode II [abort] and so the thought never crossed my mind about aborting at any point. I wanted to make sure we had enough time to psych it out. The main concern I had was getting through staging where we got the g levels back down again and we had a little more time to sort out what was going on."
The Translational Hand Controller. Turning the T-shaped handle counterclockwise would initiate the abort.
Hence with the Saturn V propulsion and guidance working, their radio functioning, and with power in their onboard systems, Pete Conrad saw no reason to abort the mission. This is also entirely consistent with the mission rules. It was seen preferable to reach orbit and assess the situation in the relative safety of a stable orbit, rather than to perform the much more hazardous emergency abort that would send them plummeting to the Atlantic Ocean. A contingency deorbit could have been performed even with battery power and using the backup guidance available, meaning that the crew most likely had the best chance of survival by pressing on to orbit, even if they would be unable to restore their systems. Pete Conrad knew this. As the person ultimately in charge of deciding whether to abort the ascent, his training, his piloting and spaceflight experience and quite frankly, his nerves of steel meant that the crew of Apollo 12 pressed on. With Mission Control and the crew in agreement over this, the risk was taken, and it paid off. Another succesful lunar landing mission was performed.
Commander Charles "Pete" Conrad suits up hours before his gumption salvaged a mission with an interesting start.

What Changed after Apollo 12?

Although the lightning strike was a sombre reminder of the forces of nature that the space program by default worked against, very little was actually changed for the remaining missions. No appreciable modifications were seen necessary for the spacecraft or the launch vehicle, not to mention that it would have also been prohibitively expensive and time-consuming at the middle of the Apollo program. Prevention was seen as the best course of action. Launch rules were amended to ensure that no launch attempts would be made in weather where the formation of lightning was likely. No lightning-related issues were seen in any other Apollo mission. The electric power failure of Apollo 12 due to the lightning and Apollo 13's prematurely shutting down second stage center engine remain the only major Saturn V-related anomalies in the manned portion of the Apollo program.

Sources and Acknowledgements


The documentation at AFJ provided my starting point for researching the flight of Apollo 12. Scans of original files provided by space archivist Bob Andrepont were invaluable as contemporary sources for my reconstruction of events as well as human actions. The transcript prepared by the AFJ team allowed me to read the air to ground communications as well as the onboard recording transcripts for this important human aspect. Simon Plumpton's YouTube video series on the flight of Apollo 12 - including special videos on the liftoff and the lightning incident - were also of great importance, allowing me to listen to the audio in the most easily approachable form online. Mike Jetzer's heroicrelics.org is a good source of information on the Saturn V and the Apollo Command Service Module, especially in terms of panel diagrams. Ron Burkey's VirtualAGC page has everything you could ever imagine you'd want to read about the Apollo Guidance Computer, and gave me a lot of good references while writing this essay.

Secondary research literary sources were consulted as well. Rick Houston's Go,Flight! describes the events, actions and thoughts in Mission Control at the time. Andrew Chaikin's A Man on the Moon contains discussions on the Apollo 12 astronauts and the events of the launch as well.

I wish to thank several people for their support and assistance in composing this essay. Space historian David Harland provided a copy of his book on Apollo 12 . Apollo Guidance Computer expert Frank O'Brien helped me wrap my brain around the relationship between the inertial guidance platform and the computer. Skylab experts and historians Emily Carney and Dwight Steven-Boniecki were more than happy to reflect on and discuss these early Apollo exploits of Skylab 2 and 3 mission commanders Pete Conrad and Alan Bean. My special thank you goes to W. David Woods for his tutelage, editing assistance, and the chance to write this essay for AFJ and NASA History.
Index
Journal Home Page